Understanding Impedance Matching
Audio Transformers can be considered as either a step-up or step-down type. Rather than being wound to produce a specific output voltage, audio transformers are mainly designed for impedance matching. Audio transformers are ideal for balancing amplifiers and loads together that have different input/output impedance’s in order to achieve maximum power transfer. The main difference between an impedance transformer and a typical power transformer is that with an impedance transformer the frequency response, primary/secondary impedance plus power capabilities are all taken into account and typically have a wide frequency response.
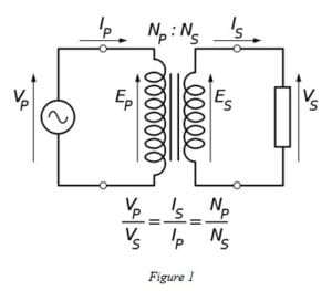
A typical transformer has a primary winding and a secondary winding. When an AC voltage is applied to the primary winding, the secondary winding will output an AC voltage but with a different amplitude depending on the ratio of the windings in the primary and secondary coils, which is known as the turns ratio.
Below in Figure 1, is a diagram of the relationship between the input voltage and current to the output voltage and current. Where “Vp” is the primary voltage, “Vs” is the secondary voltage, “Ip” is the primary current, and “Is” is the secondary current. The ratio Np:Ns is the Turns Ratio, which is the number of windings in the primary over the number of windings in the secondary.

The relationship between the impedance and the turns ratio is shown in Figure 2, which shows us that the ratio of the primary impedance over the secondary impedance is equal to the square of the Turns Ratio.

Audio transformers are used to match the load impedance to a source, which allows the maximum amount of power to be transferred to the load which can be explained by Jacobi’s law. Jacobi’s law states that “Maximum power is transferred when the internal resistance of the source equals the resistance of the load when the external resistance can be varied, and the internal resistance is constant”.
Applications
Audio transformers can be used to match impedance in a variety of Audio applications, RF antenna’s and practically anywhere the load impedance needs to be matched to the source. Audio transformers are designed to operate within the audio band of frequencies (20Hz to 20kHz) and as such can have applications in the input stage (microphones), output stage (loudspeakers), inter-stage coupling as well as impedance matching of amplifiers. In all cases, the frequency response, primary and secondary impedances, and power capabilities all need to be considered.
Constant Voltage Audio System
In a high voltage/low current system, the high voltage is provided by a step-up transformer, which lowers power loss along the long lengths of cable. Each speaker has its own impedance transformer which matches the impedance of the high voltage line to the impedance of the speaker.

Another benefit of this is that designing a large scale audio system becomes much simpler as you do not need to wire the speakers in parallel or series to match the impedance of the amplifier.
Microphone Impedance Matching
Matching high impedance tube amplifiers to normal microphone output impedance or Matching low impedance low voltage ribbon microphones to normal output impedance.
Impedance Matching RF Antennas
With RF Antenna’s, impedance transformers are used to match an unbalanced impedance with a balanced impedance. They are commonly known as balun transformers.
Audio transformers offer a wider frequency response and a known primary/secondary impedance compared to a typical power transformer allowing impedance transformers to obtain high levels of signal integrity while maximizing power transfer. They are not just limited to RF and Audio applications and can be utilized whenever there is a need to match the source impedance to the load impedance.


